仓库!
它的牛逼之处,在于它是一个——活着的仓库!

货物的取送、分拣全由机器人自动完成。

之后,装到Prime Air无人机上。

送货到家门,是不是很方便!

无奈无人机的航程有限…
于是,他们在空中设计了一个够搭载无人机的航母仓库——
Amazon Airship

Amazon Airship是一个可以漂浮在空中的仓库。
距离地面45000英尺,比民航客机都要高,并能在空中停留很长一段时间。

每只飞艇需要负责一片区域。
先载着大量的无人机和货物飞到送货地点附近,再放出无人机来完成最后一公里路的运送。

要是遇到缺货等情况…
小型飞艇会将货品从地面仓库运输到主艇上,除了补货之外也能为其充电!

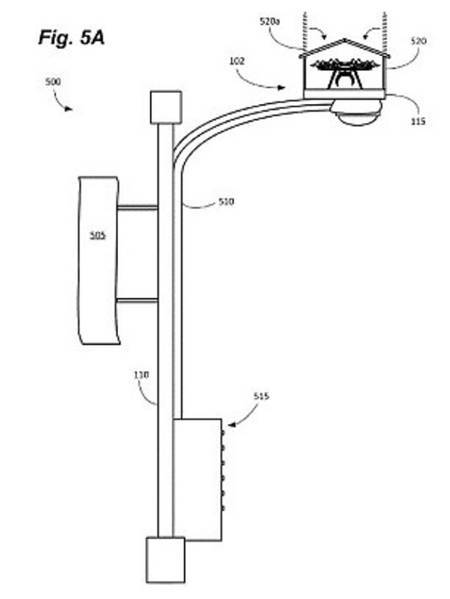
而为了让买家收货更方便。
亚马逊还设计了一款跟路灯结合在一起的无人机投递台。

如果主人不在家,它会直接投进投递台就完事。

顺便还能在路灯上充个电~

亚马逊为了建立一套完整的智能物流体系,实在是费尽心思。
酷吧?
但首先,你得有独门独栋的房子……

视频介绍——
看完这些,感觉很多快递小哥可能要失业了……
阿里巴巴在751的老厂房中藏了一座中式园林
来源: robotinside